6 月 19 日消息,微軟公司于今年 6 月 13 日獲批一項技術專利,探索耳機驗證技術,未來用戶不僅可以拿耳機來聽歌、通話,而且可以變身鑰匙,配合其它計算設備進行身份驗證。

微軟在專利中概述稱用戶佩戴這款耳機之后,可以發出超聲波信號,通過內置麥克風捕捉聲紋,可以識別用戶的特殊耳朵形狀,從而進行身份認證。
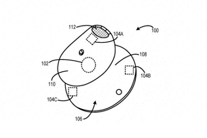
微軟在專利描述中這款耳機不僅可以通過回聲來判斷用戶當前是否有使用耳機,而且這款耳機可以和其它設備配合使用,用戶在佩戴耳機情況下靠近其它設備,用戶不再需要執行登錄操作,可以直接進入。IT之家附上相關圖片如下:

這款耳機使用的超聲波信號與您耳朵的形狀相匹配,從而形成不易破解的生物識別鎖。用戶取出耳機后就不再驗證新的會話,用戶可以自由決定是否采取這種身份驗證方式,增強了安全性。